ようこそ、ネオネットマリンへ
受注状況確認
購入履歴
初めてのお客様はお読み下さい
よくある質問と答え
メルマガの登録・解除
業販登録ご希望の方へ
NeoNetビジネス会員ご希望の方へ
お問合せ
決済方法変更
サイトマップ
マリン用品の通販王
ネオネットマリンWEB本店
全て
ミニボート・小型船外機
ボート用品
PWC用品
メンテナンス用品
トレーラー
ライフジャケット
マリンウェア
ウォータートイ
アウトドア・キャンプ
純正部品を探す
│
商品番号から探す
閲覧履歴
買物ガイド
お問い合せ
買物カゴ
メニュー
HOME
:
■純正部品
>
ヤマハ
>
2
>
2B 2004 6A13
カウリング, フュエル
シリンダ, クランクケース
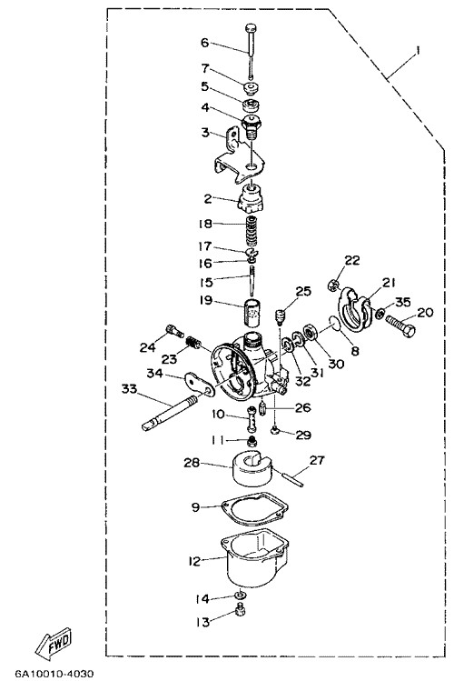
キャブレタ
スタータ
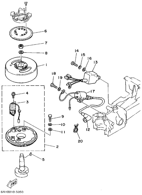
ゼネレータ
ブラケット
アツパーケーシング
ロワーケーシング, ドライブ
リペアキット
ページトップへ